加入购物车成功!
一、WRMK-131无固定装置铠装热电偶概述
传统热电偶是在藕丝上穿上一节一节的瓷珠组成,WRMK-131无固定装置铠装热电偶使用铠装芯。
电偶是用两种不同成份的导体焊接在一起,两端温度不同时,在回路中就会有热电势产生,因此势电偶是通过测量电势从而测量温度的一种感温原件,它是一种变换器,它能将温度信号转变为电信号再由显示仪表显示出来。
WRMK-131无固定装置铠装热电偶电极是两种不同成份的导体两端经焊接,形成回路,直接测温端叫工作端,接线端子端叫冷端,也称参比端。当工作端和参比端存在温差时,就会在回路中产生热电流,接上显示仪表,仪表上就会指示出热电偶所产生的热电动势的对应温度值。WRMK-131无固定装置铠装热电偶的热电动势将随着测量端温度升高而增长,热电动势的大小只和热电偶导体材质以及两端温差有关,和热电极的长度、直径无关。WRMK-131无固定装置铠装热电偶的结构原理是,是由导体、高绝缘氧化镁、外套不锈钢保护管,经多次一体拉制而成。WRMK-131无固定装置铠装热电偶产品主要由接线盒、接线端子和WRMK-131无固定装置铠装热电偶组成基本结构,并配以各种安装固定装置组成。
WRMK-131无固定装置铠装热电偶具有能弯曲、耐高压、热响应时间快和坚固耐用等优点,它与装配式热电偶、热电阻一样,作为测量温度的传感器,通常和显示仪表、记录仪和电子调节器配套使用,同时亦可以作为装配式热电偶的感温元件。它可以直接测量各种生产过程中从0℃~1300℃范围内的液体、蒸汽和气体介质以及固体表面的温度。
WRMK-131无固定装置铠装热电偶与一般工业热电偶一样,与显示仪表等配套,在一定的使用范围内对气体、液体介质或固体表面温度进行自动检测或自动调节。
二、WRMK-131无固定装置铠装热电偶工作原理
热电偶测量温度的基本原理是热电效应,将两种不同成份的金属导体首尾相连接成闭合回路,如两接点的温度不等,则在回路中就会产生热电动势,形成热电流,这就是热电效应。热电偶就是将两种不同的金属材料一端焊接而成,焊接的一端叫做测量端,未焊接的一端叫做参考端,参考端在使用时通常恒定在一定的温度,当对测量端加热时,在接点处有热电势产生。如参考端温度恒定,其热电势的大小和方向只与两种金属材料的特性和测量端的温度有关,而与势电偶的精细和长短无关。当测量端的温度改变后,势电势也随之改变,并且温度和热电势之间有一固定的函数关系,利用这个关系就可以测量温度。
WRMK-131无固定装置铠装热电偶的热电动势将随着测量端的温度升高而增长,热电动势的大小只和WRMK-131无固定装置铠装热电偶导体材质以及两端温差有关,和热电极的长度,直径无关。
防爆WRMK-131无固定装置铠装热电偶是利用间隙隔爆原理,设计具有足够强度的接线盒等部件,将所有会产生火花,电弧和危险温度的零部件都密封在接线盒腔内,当腔内发生爆炸时,能通过接合面间隙熄火和冷却,使爆炸后的火焰和温度传不到腔外,从而进行隔爆。
三、WRMK-131无固定装置铠装热电偶组成结构
WRMK-131无固定装置铠装热电偶的结构是由导体,绝缘氧化镁和1Cr18Ni9Ti不锈钢保护管经多次拉制而成,WRMK-131无固定装置铠装热电偶产品主要由接线盒,接线端子和WRMK-131无固定装置铠装热电偶组成基本结构,并配以各种安装固定装置组成。WRMK-131无固定装置铠装热电偶分绝缘式和接壳式两种。

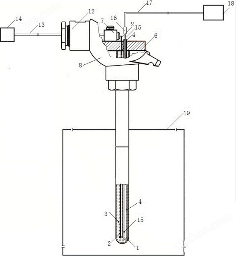
1-金属保护管,2-热电偶合金丝,3-耐高温绝缘材料,4-不锈钢细管,5-探测孔,6_绝缘接线板,7_接线柱,8_底盖,9_上盖,10-扣环,11-扣把手,12-出线孔,13-工业级补偿导线,14-工业级温度控制仪表,15-1级铠装热电偶,16-冷端连接器,17-精密级补偿导线,18-精密温度显示仪,19-工业加热设备。
四、WRMK-131无固定装置铠装热电偶特点
1、热响应时间少,减小动态误差;
2 、可弯曲安装使用;
3 、测量范围大;
4 、机械强度高,耐压性能好;
五、WRMK-131无固定装置铠装热电偶技术参数
1、产品执行标准
IEC584 IEC1515 GB/T16839-1997 JB/T5582-91
2、常温绝缘电阻
铠装偶在环境温度为20±15℃,相对湿度不大于80%,试验电压为500±50V(直流)电极与外套管之间的绝缘电阻≥1000MΩ.m。即1m长的试样的绝缘电阻为1000MΩ;10m长的试样的绝缘电阻为100MΩ。
3、测温范围及允差
型号 | 分度号 | 允差等级 | |||
Ⅰ | Ⅱ | ||||
允差值 | 测量范围℃ | 允差值 | 测量范围℃ | ||
WRNK | K | ±1.5℃ | -40~+375 | ±2.5℃ | -40~+333 |
±0.004ltl | 375~1000 | ±0.0075ltl | 333~1200 | ||
WRMK | N | ±1.5℃ | -40~+375 | ±2.5℃ | -40~+333 |
±0.004ltl | 375~1000 | ±0.0075ltl | 333~1200 | ||
WREK | E | ±1.5℃ | -40~+375 | ±2.5℃ | -40~+333 |
±0.004ltl | 375~800 | ±0.004ltl | 333~900 | ||
WRFK | J | ±1.5℃ | -40~+375 | ±2.5℃ | -40~+333 |
±0.004ltl | 375~750 | ±0.004ltl | 333~750 | ||
WRCK | T | ±0.5℃ | -40~+125 | ±1℃ | -40~+133 |
±0.004ltl | 125~350 | ±0.0075ltl | 133~350 | ||
WRPK | S | ±1℃ | 0~+1100 | ±2.5℃ | 0~600 |
±[0.003(t-1100)] | 1100~1600 | ±0.0025ltl | 600~1600 | ||
六、WRMK-131无固定装置铠装热电偶偶丝直径及材料
偶丝形式 | 单支式 | 双支式 | |
套管直径 | Φ2 Φ3 Φ4 Φ5 Φ6 Φ8 | Φ3 Φ4 Φ5 Φ6 Φ8 | |
套管材质 | E、J、 T | 1Cr18Ni9TI | 1Cr18Ni9TI |
K、N | 1Cr18Ni9TI GH3030 | 1Cr18Ni9TI GH3030 | |
S | GH3039 | GH3039 | |















